01

在NAB展会上,佳能通常会发布Cinema EOS系列新品,今年也不例外。据知情人士爆料,佳能将在4月份的NAB展会上发布两款Cinema EOS摄像机。其中一款将会是EOS C300 Mark Ⅲ摄像机,而另外一款将会是专业级高速摄像机,两款摄像机均提供EF及PL卡口。据了解,佳能C300 Mark Ⅲ摄像机能够通过付费固件的方式升级8K。此外,佳能EOS C300 Mark Ⅲ或搭载EOS C700 FF同款全画幅传感器。

除了两款Cinema EOS摄像机,佳能还很有可能发布CN-E 100mm镜头及另外7款PL卡口电影镜头。其中,佳能7款PL卡口电影镜头分别为:
CN-E 14mm T3.1 L F
CN-E 20mm T1.5 L F
CN-E 24mm T1.5 L F
CN-E 35mm T1.5 L F
CN-E 50mm T1.3 L F
CN-E 85mm T1.3 L F
CN-E 135mm T2.2 L F
02 索尼将在3月底发布RX系列vlog专用相机

据可靠消息来源,索尼将在3月底发布RX系列vlog专用相机。该款RX系列vlog专用相机并不是此前曝光的RX0 M2,很有可能是一款索尼全新设计的RX系列相机。据悉,该机将采用固定镜头光学变焦设计。
以下是关于索尼RX系列vlog专用相机更多消息:
便携式数码相机;
光学变焦;
双卡槽设计;
增强视频功能:全新视频编码、色彩分级;
自定义功能按键设置;
WiFi 2.4/5GHz可选;
为vlogger视频博主量身打造。
03 佳能RF怪兽级超广角新镜开发中
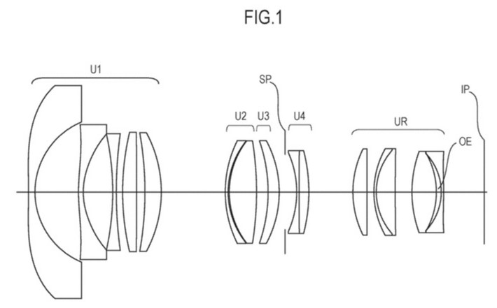
有别于 EOS R 系统相机机身有点保留的出机策略,佳能在RF 镜头的开发上相对似乎更下真功夫,以RF 28-70mm f/2L USM为例,规格在单反中可谓前所未见。虽然有部分用家表示 RF 镜头现时几乎是全员 "L" 镜,平民化的选择不多,不过佳能也并未有减慢高阶 RF 镜头开发的脚步,而最新流出正开发的就有一另一支称得上是怪兽级的超广角变焦 RF 14-21mm f/1.4L USM。

图:佳能RF怪兽级超广角新镜头的光学设计
有别于尼康早前推出 NIKKOR Z 14-30mm F4 S 走的轻巧高质兼可侯使用一般前置滤镜的路线,佳能开发中的RF 14-21mm f/1.4L USM明显就走另一极端,轻巧肯定算不上,但令人惊讶是镜头竟然可以于全段变焦都保持 f/1.4 的大光圈。超广角镜头同时又具备大光圈本身设计上已是难度相当高,以适马的 14mm F1.8 DG HSM | Art 为例,现时规格于同级之中便已属数一数二。超广角具备大光圈的优势应该不少人都清楚,除了有利光线不足的环境手持,特定题材如星空拍摄等亦可大大缩短曝光的时间,在不使用赤道仪下拍出更为清晰的影像,不过代价当然会是重量,如果佳能的这支 RF 14-21mm f/1.4L USM 重量直逼2kg,从设计中也可看出镜头采用突出的前组,则有可能不支持前置滤镜的使用。消息指佳能的此款RF怪兽级超广角新镜头将于明年推出,大家一起拭目以待吧。
用户评论(共0条评论)